大学科技园区管理办公室
成果发布
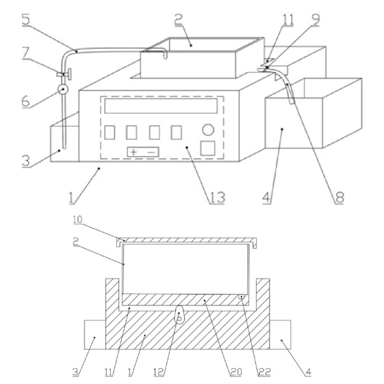
一种实验用自动漂洗仪
发布时间:2026-03-10 16:30:47 点击数:

产品原理:

首先通过显示控制面板设置漂洗参数(转速、时间、次数和温度)。随后,按开始键,微量泵、第一电控阀门打开,微量泵抽吸漂洗液至漂洗盒。当漂洗盒内的漂洗液达到设定量时,微量泵、第一电控阀门关闭,温控单元开启并对漂洗液进行温度调节。一旦达到设定温度,电机启动并带动偏心轮转动,漂洗盒上下摆动。电机工作到预定时间后暂停工作,第二电控阀门打开排除漂洗液,单次漂洗完成。之后,再循环,直至漂洗结束,所有漂洗程序结束后,系统自动发出报警声,通知操作者。

主要特点:

将实现漂洗次数、转速、时间、温度的自动化控制;

解放人力,节约时间;

实现将多张膜分格自动化漂洗。


上一条:泸州合江金钗石斛的检测试剂盒和检测方法
下一条:治疗重症激素抵抗型哮喘全人源抗体